Траверса ТМ-106
Заказать через WhatsApp
Отправьте заявку
Описание
Траверса ТМ-106 выпускается в соответствии с типовым проектом 26.0004 (26.0004-17).
Траверса ТМ-106 используется при проведении высоковольтных ЛЭП напряжением 10 кВ для крепления проводов. Для производства траверсы применяется углеродистая сталь. В процессе изготовления траверсе придаются антикоррозионные свойства путем покрытия битумным лаком марки БТ-577.
Для надежности установки на опоре траверса ТМ-106 крепится специальными хомутами. Хомуты заказываются отдельно от траверсы в зависимости от вида опоры, на которой будет установлена траверса. Хомутами марки Х-1 траверса ТМ-106 крепится на опоре СВ105, а хомуты Х-42 используются со стойками СВ110.
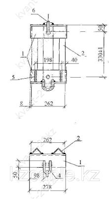
Спецификация траверсы ТМ-106
| Позиция | Наименование детали | Количество | Масса, кг |
|---|---|---|---|
| 1 | Уголок 100х100х8 ГОСТ 8509-93 L=278 | 2 | 13.50 |
| 2 | Уголок 63х63х5 ГОСТ 8509-93 L=435 | 2 | |
| 3 | Круг 20 ГОСТ 2590-88 L=390 | 1 | |
| 4 | Круг 16 ГОСТ 2590-88 L=254 | 1 | |
| 5 | Полоса 6х85ГОСТ 103-76 L=85 | 2 | |
| 6 | Серьги СРС 7-16 ТУ 34-13-10272-88 | 1 |
Размеры траверсы ТМ-106:

Варианты обозначения: траверса ТМ-106, ТМ106, ТМ 106
****