Траверса ТМ-72а, ТМ-72аМ, ТМ-72б, ТМ-72бМ
Заказать через WhatsApp
Отправьте заявку
Описание
Траверсы ТМ-72а, ТМ-72аМ, ТМ-72б, ТМ-72бМ выпускаются в соответствии с типовым проектом Л57-97 (Л57.97.04.02).
Траверсы ТМ-72а, ТМ-72аМ, ТМ-72б, ТМ-72бМ применяются для выполнения крепления проводов с использованием изолирующих натяжных подвесок во время проведения и установки анкерных опор ЛЭП 10 кВ. В зависимости от типа стойки (СВ110 или СВ105) выбирают тип крепежного хомута (Х-1 или Х-42), с помощью которого траверса крепится на стойку. Заказывать хомуты нужно отдельно.
Траверсы ТМ-72а, ТМ-72б выполнены из качественной углеродистой стали и имеют лаковое антикоррозийное покрытие (лак битумный БТ-577).
Траверса ТМ-72аМ, ТМ-72бМ могут применяться в условиях низких температур, так как изготовлены из особой стали, выдерживающей температуру более -40°С.
Четыре петли, приваренные к траверсе ТМ-72а, ТМ-72аМ, ТМ-72б, ТМ-72бМ, оснащены серьгами серии СРС7-16.
Траверсы в зависимости от модели различаются друг от друга массой, габаритными размерами и несущей способностью.
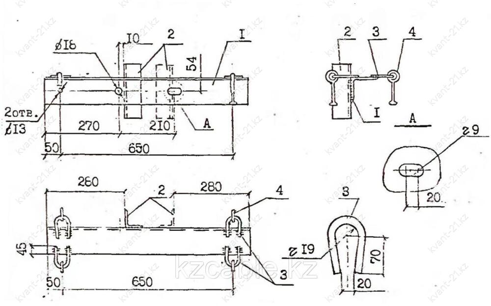
Спецификация траверсы ТМ-72а, ТМ-72аМ, ТМ-72б, ТМ-72бМ
| Позиция | Наименование детали | Количество | Масса, кг |
|---|---|---|---|
| 1 | Уголок 100х100х8 ГОСТ 8509-86 L=750 | 1 | 13,00 |
| 2 | Уголок 63х63х5 ГОСТ 8509-86 L=200 | 1 | |
| 3 | Круг 816 ГОСТ 2590-88 L=260 | 4 | |
| 4 | Серьга СРС-7-16 ТУ 34-13-10272-88 | 4 |
Размеры траверсы ТМ-72а, ТМ-72аМ, ТМ-72б, ТМ-72бМ:

1. Сварку выполнять электродом Э42A по ГОСТ 9467-75, высота шва 5 мм.
2. Антикорозийную защиту и выбор марки стали производить в соответствии с техническим заданием.
3. Для изготовления траверсы ТМ-72а-М, ТМ-72б-М применять сталь в соответствии с таблицей, технического задания, для расчетных температур ниже 40 градусов.
Варианты обозначения: траверса ТМ-72а, ТМ-72аМ, ТМ-72б, ТМ-72бМ, ТМ72а, ТМ72аМ, ТМ72б, ТМ72бМ
****